1968 Cadillac

except Eldorado

This listing only covers the most frequently requested parts for this year of Cadillac. If the item or items you are looking for are not shown, please email us at sales@cadillacville.com for price and availability. Cadillacville has an extensive inventory. International orders welcome.

Shop Our New Online Cadillac Parts Store at https://shopcadillacville.com
Thousand's of Parts Available

Click here for model identification page

Front bumper

 

 

Prices are for each, unless otherwise noted.

 

Quality Grade
Quality level explanation

  _____5 __ _____4 __ _____3 __ _____2 __ _____1
       
1. Left upper end 65.00   75.00   95.00   125.00   --
2. Left lower end --   135.00   165.00   195.00   250.00
3. Lower main center bar -- 200.00 225.00 250.00 300.00
4. License plate ornament
5. License plate support plate
6. License plate plastic shield
7. License plate frame
8. Left lower grill -- -- -- 38.00 58.00
9. Right lower grill -- -- -- 38.00 58.00
10. Upper center bar -- -- 95.00 125.00 150.00
--.   Right upper end 65.00   75.00   95.00   125.00   --
11. Right lower end --   145.00   185.00   225.00   295.00
12-15. Mounting brackets, inquire
Illustration of front bumper

If a part doesn't have a price filled in yet, It doesn't mean we don't have that item.

Front grill and lights

 

Main grill $165.00   210.00   250.00   295.00   350.00
Grill left extension --   --   55.00   75.00   95.00
Grill right extension --   --   55.00   75.00   95.00
Grill "Cadillac" script --   --   35.00   48.00   68.00
1. Parking light bezel -- -- 55.00 75.00 95.00
2. Parking light ornament --   --   28.00   35.00   45.00
3. Park light lens --   --   45.00   58.00   78.00
4. Parking light bulb housing --   --   35.00   45.00   55.00
Illustration of parking light assembly
                   
Illustration of front grill assembly                  

 

Fenders and hood

dbaer's cadillacville specializes in original Cadillac parts. Our extensive inventory of retired Cadillacs allows us to offer a variety of conditions, ranging from average driver to excellent. Of course, for higher quality you pay a higher price.

Fenders

8. Left fender .....(without trim or lights, best we have  --   --   --   Inquire   --
  .........will need small patch panel in rear lower, otherwise                   
  ......... really nice, $175.00)                  
8. Right fender .....(without trim or lights, best we have  --   --   --   Inquire   --
  .........will need small patch panel in rear lower, otherwise                   
  ......... really nice, $195.00)                  
1. Fender extension ...........(left and right are same) --   75.00   95.00   125.00   150.00
2. Headlight chrome door --   --   55.00   75.00   95.00
3. Headlight housing .........(with good adjusters) --   ----   --   --   78.00
7. Fender body side molding --   65.00   95.00   125.00   150.00
6. Left front wheel opening molding --   55.00   75.00   95.00   125.00
- Right front wheel opening molding --   --   95.00   125.00   150.00
5. Corner lamp housing --   35.00   45.00   55.00   68.00
  Corner light lens --   35.00   55.00   75.00   95.00
                        
 

Featured Item

1968 Cadillac Deville Right Marker corner Lens (2).JPG (522794 bytes)

           
  1968 Marker Corner Light Lens  

NOS

  SOLD   150.00
 

See Pictures    ------------------>

           
               
                     
  Corner light lens bezel --   35.00   55.00   75.00   95.00
- Power antenna ......(nice used original) --   --   --   Inquire   --
  (does not include $35.00 Core Charge)                  
  Power antenna fender bezel/top mount                 45.00
  Illustration of fender                  

Hood

1. Hood ...........(without trim and emblem) --   --   $195.00   $250.00   $295.00
2. Left hood hinge assembly --   --   --   --   65.00
- Right hood hinge assembly --   --   --   --   65.00
3. Fleetwood hood wreath --   --   --   38.00   48.00
4. Hood "V" emblem --   --   45.00   55.00   65.00
5. Hood crest --   --   45.00   55.00   65.00
6. Hood rear molding --   --   --   --   65.00
7. Hood front molding ........(other quality levels) --   150.00   195.00   --   --
                                 
  Featured Items       In addition to above                  
  Hood Molding            
               
                       See Pictures  ------------------>       See Pictures
                     
  Illustration for hood                  

Prices and availability subject to change without notice.

Doors ...........(for interior trim see Interior)

Door shell .....(coupe, convertible) --   --   --   195.00   250.00
                        
Door outside handle --   --   58.00   68.00   88.00
  Handle Push Button              22.00   28.00
Left door rear view mirror 50.00   65.00   100.00   135.00   175.00
Right door rear view mirror ........(not available) --   --   --   --   --
Body side molding .....(coupe, convertible) per door 45.00   55.00   75.00   95.00   125.00
Body side molding clip set ..(coupe, convertible) per door 38.00
        Fwd  is stud clip- four bathtub clips- stub phillips screw clip
Body side molding .....(sedan) (front door) per door 45.00 55.00 65.00 75.00
Body side molding .....(sedan) (rear door) per door 37.00 45.00 55.00 65.00
         Fwd  is stud clip- three bathtub clips- stub phillips screw clip
Body side molding clip set ..(sedan) (front or rear) per dr 32.00
Vent window power regulator/motor.....(see below) --   --   --   --   --
Door window glass .......(coupe) -- -- -- -- 125.00
Door window glass .......(convertible) -- -- -- -- 125.00
Door window motor --   --   --   --   88.00
Door window regulator......(coupe, convertible) --   --   --   --   125.00
Door window glass outside weather strip (sweep)

NEW

  --   --   (each)   28.00
.........(coupe, convertible) (Inquire)

NEW

(pair) 46.00
Door window glass inside weather strip .....(sweep) 

--

  --   --   (pair)   Inquire
.........(coupe, convertible ) (Inquire)
Front door glass ... (4-dr hardtop) 95.00
Rear door glass ...  (4-dr hardtop) 95.00
Rear door window vertical leading edge weather strip

NEW

(each) 32.00
..........(seals to front door window)  (4-dr hardtop)

NEW

(pair) 52.00
Door lock actuator -- -- -- -- 88.00
Door latch/lock ...(In rear of door) 95.00
Front power vent window system --   --   --   --   418.00
Front power vent motor --   --   --   --   68.00
Front power vent regulator -- -- -- -- 55.00
Front power vent large drive gear -- -- -- -- --
Front power vent plug/pigtail of wire for motor -- -- -- -- 28.00
Front power vent window relay -- -- -- -- 45.00
2-button window switch -- -- -- -- 38.00
1-button window switch -- -- -- -- 28.00

Body, roof and glass

 

Windshield -- --   --   --   150.00
Convertible top rear 3-piece tack sticks -- -- -- -- 225.00
Roof rail weatherstrip .......(convertible)
.....................3-piece per side on top assembly NEW (2 sides) 439.00
.....................Hinge Pillar .....(windshield post) NEW (pair) 129.00
Roof rail weatherstrip ........(coupe) NEW (pair) 129.00
Roof rail weatherstrip ........(4-dr hardtop) NEW (pair) 165.00
Left rocker molding ......(Fleetwood only) --   100.00   125.00   150.00   195.00
Right rocker molding ......(Fleetwood only) --   100.00   125.00   150.00   195.00
                      
Convertible front bow header weatherstrip            
     CLOSEOUT SPECIAL   NEW   --   59.00
          Special......One only            
                    
  

These are the most requested items. Feel free to inquire about items not listed.

Quarter and trunk

 

Quarter window glass ... (convertible)
Quarter window vertical leading edge weather strip original Left or right (each) 18.00
..........(seals to front door window)  (coupe or convertible) original (pair) 28.00
        One new left hand only 

New

24.00
Rear door window vertical leading edge weather strip

Original

(each) 18.00
..........(seals to front door window)  (4-dr hardtop)

Original

(pair) 28.00
LH quarter window motor --   --   --   --   68.00
RH quarter window motor --   --   --   --   68.00
 
Body side molding .....(coupe, convertible) 175.00   200.00   235.00   265.00   295.00
Body side molding clip set ......(coupe, convertible) --   --   --   --   58.00
 Fwd, (3) Narrow clip w/ stud   (7) push in clips   (4) wide clips w/ studs
  

Featured Item

Highly Polished 2 Door Quarter Body Side Molding

See Pictures    ------------------->    

                     
                   
Body side molding ........(sedan) 100.00 125.00 150.00
Body side molding clip set ......(sedan) --   --   --   --   45.00
Quarter "DeVille" script ......(convertible)

NEW

-- -- -- 58.00
Quarter "Coupe" script .......(for Coupe deVille) <Rare> --   24.00   30.00   38.00   48.00
Quarter "Sedan" script .......(for Sedan deVille) --   22.00   26.00   32.00   35.00
Quarter "deVille" script ........(for Coupe and Sedan deVille) --   22.00   26.00   32.00   35.00
Quarter script "Calais" -- -- -- 35.00 45.00
.......Following skirts are for Calais and deVille series
Left skirt --   --   75.00   100.00   125.00
Right skirt --   --   75.00   100.00   125.00
Skirt stone shield molding --   --   22.00   27.00   35.00
Wheel opening molding --   --   35.00   45.00 55.00
......For Fleetwood and Eldorado, inquire
LH quarter panel .......(whole quarter is cut at bottom of door --   --   --   --   --
..............jam includes a foot width of floor board, wheelhouse,                
.............and trunk floor. Customer arranges shipping via motor                
.............freight. Sold without trim, etc. coupe)                
RH quarter panel ....(whole quarter is cut at bottom of door --   --   --   --   --
..............jam includes a foot width of floor board, wheelhouse,                
.............and trunk floor. Customer arranges shipping via motor                
.............freight. Sold without trim, etc. coupe)                
LH quarter segment ....(i.e. 6" swath around wheel opening --   --   --   --   --
...............including outboard 1/2 of wheelhouse                
...............or, we can custom cut to your specs. coupe)                
RH quarter segment ....(see left quarter segment for details) --   --   --   --   --
Quarter Extension Rubber Fillers ... (see rear bumper) -- -- -- -- --
                 
Trunk lid --   --   150.00   195.00   250.00
Trunk script "Cadillac" --   --   35.00   45.00   55.00
Trunk lip molding --   --   --   --   55.00
Trunk weatherstrip

NEW

  --   --   --   49.00
Trunk Vee --   --   --   45.00   55.00
Trunk lock cover assembly.......(with new crest on nice  --   --   --   --   150.00
.....original base, used will be somewhat faded in colored areas)
Trunk lock cover assembly .....(nice used) -- 55.00 75.00 95.00 --
Power trunk lock with rod and key --   --   --   --   45.00
Trunk torsion rods ......(coupe, sedan, or Fleetwood) --   --   --   --   45.00
Trunk torsion rod ......(convertible, not available) --   --   --   --   --
Bumper jack assembly -- -- 45.00 55.00 75.00
Lug wrench -- -- -- -- 25.00
Trunk release cable --   --   --   --   75.00
Trunk release cylinder --   --   --   --   55.00
                 
Illustrations of trunk pull down and power release systems                

Terminology has been dbaerized.

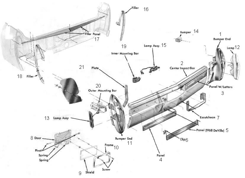
Rear bumper

 

Rear bumper ..........(complete) --   --   $800.00   1000.00   1200.00
1. Left end -- 85.00 100.00 125.00 150.00
2. Center bar .......(nothing really nice, some OK ones) 225.00 250.00 275.00 -- --
3. Left Fleetwood insert panel 55.00 75.00 -- -- --
4. Right Fleetwood insert panel 55.00 75.00 -- -- --
5. deVille trim panel .......(left or right) -- -- 55.00 65.00 75.00
6. Trim panel clips ........(each) -- -- -- -- 5.00
7. License plate escution
8. License plate/gas filler door assembly -- -- -- -- 35.00
9. License plate plastic shield
10. License plate frame        
11. Right end --   100.00   125.00   150.00   175.00
12. Tail light assembly ......(see rear lights for prices)        
13. Marker light assembly ......(see rear lights for prices)        
14. Bumper end upper rubber support ......(left or right) --   --   --   --   38.00
15. License plate light assembly                
17. Trunk/rear bumper filler        
19-21. Various mounting hardware, inquire
Illustration of rear bumper                
                   
16. Left quarter/bumper end rubber filler --   --   --   95.00   125.00
18. Right quarter/bumper end rubber filler --   --   --   95.00   125.00
                   
IIllustration of 1967-68 Rubber Fillers                  

 

Rear lights and fillers

 

Lights

Tail light lamp housing --   --   45.00   55.00   65.00
Tail light lens --   --   45.00   55.00   65.00
  

Featured Item

1967-68 Cadillac Dv Tail Light Back Up Lens.JPG (504488 bytes)

1967-1968 Cadillac Deville Tail Light Backup Lens

NOS

See Pictures  ---------------->      

  
Tail light lens bezel --   --   35.00   45.00   55.00
Rear marker light lens --   --   --   --   25.00
Rear marker light bezel -- -- -- 25.00 35.00

Fillers

                   
                   

Price and availability subject to change without notice.

Engine and drive train

Engine

Cooling, lubrication, and electrical

1.. Fan clutch .......(A/C cars) -- --   --   --   35.00
2. Fan blade assembly ......(A/C cars) -- --   --   --   25.00
3. Fan pulley ..........(A/C cars) -- --   --   --   25.00
4. Fan blade assembly ........(non A/C cars) -- --   --   --   35.00
5. Fan pulley ........(non A/C cars) -- --   --   --   25.00
- Radiator upper support with cushions -- -- -- -- 48.00
6. Harmonic balancer -- --   --   --   55.00
7. Water pump -- --   --   --   45.00
8. Engine dip stick -- --   --   --   25.00
9. Engine dip stick tube -- --   --   --   75.00
10. Engine oil pan -- --   --   55.00   75.00
- Power steering pump -- --   --   --   45.00
- Power steering pump pulley .....(one or two groove) -- --   --   --   30.00
- Battery hold down bracket -- --   --   --   35.00
- Transmission kick down switch -- -- -- -- 45.00

Fuel

1. Air cleaner assembly -- --   --   $48.00   65.00
2. Carburetor ...Illustration -- --   --   125.00   150.00
- Vacuum break -- --   --   --   38.00
Idle speed up ..........(on carburetor)  Illustration -- --   --   --   55.00
3. Carburetor shim plate -- --   --   --   22.00
4. Choke Stove -- --   --   --   48.00
9. Fuel pump -- --   --   --   35.00
- Fuel tank ......(except commercial chassis) -- -- 140.00 165.00 195.00
- Fuel tank .......(commercial chassis, not available) -- -- -- -- --
- Fuel tank float and sending unit ........(different air  -- -- -- -- 95.00
.......conditioned car or non air conditioned car.  Price does
.......not include $25.00 core charge)
- A.I.R. system Illustration ......(inquire for price,            
........ availability)
- A.I.R. manifold ......(nice used) -- -- -- -- 45.00
- A.I.R. valve .......(nice used) -- -- -- -- 45.00

 

Engine heads, block, and manifolds

5. Intake manifold.......(manifolds illustration) -- --   --   --   65.00
8. LH exhaust manifold -- --   --   --   175.00
6. RH exhaust manifold -- --   --   --   125.00
- Exhaust pipe mount .....(near rear wheel, forward  -- --   --   --   55.00
........ of axle, aft of muffler)
7. Heat control valve -- --   --   --   55.00

Transmission

Speedometer cable ........(non cruise control car) --   --   --   --   48.00
Speedometer cable ........(cruise car, speedometer to  --   --   --   --   45.00
.........transducer)
Speedometer cable ........(cruise car, transmission to  -- -- -- -- 55.00
.........transducer)
Flex plate inspection cover -- -- -- -- 45.00

Drive shaft and rear end

Drive line ......(Fleetwood type) --   --   --   --   165.00
Drive line ......(deVille, Calais)  --    --   --   --   125.00
Drive line forward or aft CV joint 45.00
Drive line center support/bearing ........(limousine only) -- -- -- -- 125.00
Third member -- -- --   --   125.00
Third member plug .....(minimum $20.00 order) -- -- --   --   8.00

If a part doesn't have a price filled in yet, It doesn't mean we don't have that item.

Steering, front suspension, and brakes

Steering

Power steering pump, with reservoir and pulley 95.00
.....(advise number of grooves on pulley)
Power steering pump pulley 38.00
Steering gear box -- -- --   --   95.00
Pittman arm -- -- --   --   35.00
Idler arm assembly -- -- --   --   48.00
Center link -- -- --   125.00   150.00
Inner tie rod ......(each) -- -- --   --   38.00
Tie rod adjuster assembly .......(each) -- -- --   --   22.00
Outer tie rod ......(each) -- -- --   --   28.00
Tie rod assembly ........(per side) -- -- --   --   65.00
Steering knuckle ......(spindle) -- -- --   --   95.00

Suspension

LH upper control arm ......(with good ball joint and  -- --   --   --   165.00
.......bushings)
LH upper control arm ......(needs ball joint replaced) -- --   --   --    85.00
LH lower control arm ......(with good ball joint and  -- --   --   --    125.00
.......bushings)
LH lower control arm ......(needs ball joint replaced) -- --   --   --    85.00
RH upper control arm ......(with good ball joint and  -- --   --   --   165.00
.......bushings)
RH upper control arm ......(needs ball joint replaced) -- --   --   --    85.00
RH lower control arm ......(with good ball joint and  -- --   --   --    125.00
.......bushings)
RH lower control arm ......(needs ball joint replaced) -- --   --   --    85.00
Left front upper control arm
      1 only NOS -- SOLD -- 195.00
Front spring -- --    --   --    65.00
Front strut -- -- --   --    48.00
Front strut rubber bushings -- -- --   --    45.00
Front strut rod 48.00
Front strut rod bushings and washers 45.00
Link to stabilizer........(with nuts, washers, etc) 35.00

Brakes

Front drums

Front brake drum with hub ....(each) -- -- --   --   45.00 
Master cylinder -- -- --   --   48.00 
...........(Guaranteed rebuildable. Part is disassembled so         
..............piston and bore can be inspected. It would
..............be appropriate to reassemble with new seals.)
Brake booster -- -- --   --   65.00 
         

Front discs

Front rotor with hub .......(each) -- -- --   --   75.00
Front caliper .......(each) -- -- -- -- 55.00
..............(Guaranteed rebuildable. Part is disassembled so 
..............piston and bore can be inspected. It would
..............be appropriate to reassemble with new seals.)
Caliper mounting bracket .... (L or R, each) 45.00
Master cylinder -- -- --   --    55.00
..............(Guaranteed rebuildable. Part is disassembled so         
..............piston and bore can be inspected. It would
..............be appropriate to reassemble with new seals.)
Master cylinder .....(limo & CC only, see above for details) -- -- -- -- 75.00
Brake booster ......(except Limo & CC) -- -- --   --    65.00
Proportioning valve .......(front disk brake only) -- -- --   --   48.00
         

 

Rear brakes

LH rear parking brake cable -- -- --   --   75.00
RH rear parking brake cable -- -- --   --   75.00
Parking brake cable set ........(pair) -- -- --   --   125.00
Parking brake foot pedal assembly ......(with good  -- -- --   --   85.00
........vacuum release)
Rear brake drum 55.00

 

Wheels and wheelcovers

 

Standard steel wheel .........(spun checked for trueness) --    --   47.00   65.00   95.00
Wheel cover ......(new old stock) -- -- --   --   95.00
  

Featured Item

1968-69 Comercial Chassis NOS wheel covers (2).JPG (587563 bytes)

1968-1969 Slotted Wheel Covers

NOS

See Pictures   -------------->   

  
Wheel cover ......(nice used) -- -- --   38.00   55.00

Terminology has been dbaerized.

Interior pieces

 

Dash and column

Clock ......(working) -- -- --   --   $55.00
Fuel gauge -- -- --   --   35.00
Temperature gauge -- -- --   --   35.00
Instrument cluster printed circuit -- -- --   --   38.00
Instrument cluster printed face -- -- --   --   75.00
Gear select printed face -- -- --   --   48.00
Windshield wiper switch -- -- -- -- 38.00
Speedometer head -- -- --   --   45.00
Speedometer cable -- -- --   --   55.00
Turn signal switch ......(tilt/telescoping column) -- -- -- -- 250.00
Turn signal switch ........(standard column, hazard light knob  -- -- --   --   195.00
..........hole square, Delco-Remy)
                     
   

Featured Item

1967-1968 Cadillac Turn Signal Assembly Standard Column Delco-Remy (2).JPG (605987 bytes)

1967-1968 Cadillac Turn Signal Switch NOS SOLD 295.00
          Delco-Remy Products

  See Pictures   ----------------------->

  
   
 
Turn signal switch ........(standard column, hazard light knob 195.00
.........hole round, Boyne products, click here for picture > >)
   
   

Featured Item

1967-1968 Cadillac Turn Signal Assembly Standard Column Boyne Products (2).JPG (601105 bytes)

1967-1968 Cadillac Turn Signal Switch NOS SOLD
          Boyne Products

  See Pictures   ----------------------->

   
                     
Turn signal lever (tilt) See pics       75.00   95.00
turn signal lever (standard) See pics       75.00   95.00
                     
   
  
Ignition switch .........(without tumblers, key) -- -- --   --   95.00
Ignition switch tumblers and key 35.00
Ignition switch plug/pigtail -- -- --   --   28.00
Neutral safety switch ......(price does not include $15.00  -- -- --   --   165.00
..........core charge)
Steering column .......( tilt-tele, basic col) ....(w/o wheel,  --   --   --   --   250.00
........levers, neutral switch, or turn signal switch)
Steering column lower panel ........(under steering column) -- -- -- -- 58.00
Steering column coupler -- -- --   --   48.00
Steering wheel center pad -- -- --   75.00   95.00
                     
Featured Item            
Steering wheel center pad   --   --   --
See Pictures ---------->                        
                     
                   
Dash ashtray pad....(color) 38.00
Dash ashtray inserts....(each) 22.00
Headlight switch -- -- --   --   55.00
Dash pad .........4 variations, or styles
....Dash pad # 1, stereo radio and air conditioning -- -- -- -- 225.00
....Dash pad # 2, stereo without air conditioning -- -- -- -- inquire
....Dash pad # 3, mono radio and air conditioning -- -- -- -- 225.00
....Dash pad # 4, mono radio without air conditioning -- -- --   --   inquire
              Stereo Grilles Pics
Dash lower panel  ........ < Illustration > 195.00
Radio ........(AM/FM stereo) -- -- -- -- 250.00
Radio .........(AM/FM mono) -- -- -- -- 175.00
Radio .........(AM only) -- -- -- -- 150.00
Radio to Rear Speaker Wire Assembly See   Pictures       NOS   39.00
Power antenna ......(nice used original) -- -- -- 195.00 250.00
8-track unit .......(separate piece from radio) -- -- -- -- 95.00
8-track to stereo wire harness -- -- -- -- NA
8-track unit mounting bracket ......(only one available -- -- -- 45.00 --
.....it has holes drilled in place of sliding mounting tabs)
Inside rear view mirror -- -- -- 38.00 48.00
Inside rear view mirror base -- -- -- 22.00 32.00
Under dash cover -- -- --   --   38.00
Glove box door -- -- --   --   45.00
Glove box door lock -- -- --   --   38.00
Glove box door lock key -- -- --   --   10.00
Park brake foot pedal assembly ......(with good vacuum  -- -- -- -- 55.00
..........release)

Seats

23. Seat 6-way track assembly ........(each) -- -- -- -- 95.00
28 or 33.Individual gear nut ......(front or rear jack device) -- -- -- -- 45.00
14-19.Bench seat six-way seat switch .....(price  --   --   --   --   75.00
...........doesn't include $22.00 core charge)                  
5-10. Bench seat six way transmission ........(price  --   --   --   --   125.00
..........does not include $25.00 core charge)                  
1. Bench seat motor --   --   --   --   75.00
2. Bench seat power relay --   --   --   --   45.00
                   
Illustration of seat mechanics (6-way)
                   
       
       
       
       
                   

 

Door interior

Basic inside door panel ......(sedan) --   --   --   --   125.00
......(manual or power wing vents)
Basic inside door panel......(coupe, convertible) --   --   165.00   200.00   250.00
......(manual or power wing vents)
                   
             
Door Panel Pictures               ------------------>            
             
                   
LH inside door handle --   --   --   --   38.00
RH inside door handle --   --   --   --   38.00
                   
                   
Door pull strap --   --   --   35.00   45.00
LH four button window switch ......(price does not include --   --   --   --   145.00
 ........$22.00 core charge)                
LH six button window switch ......(price does not include  --   --   --   --   195.00
......... $40.00 core charge) --                
RH one button window switch   --   --   --   35.00
RH two button window switch .....(price does not include  --   --   --   --   68.00
........$22.00 core charge)                
Quarter window one button window switch --   --   --   --   35.00
Power window motor --   --   --   --   85.00
LH door window regulator --   --   --   --   125.00
RH door window regulator --   --   --   --   95.00

Interior side panels and moldings

Rear seat side panel courtesy light lens .....(convertible) --   --   25.00   35.00   45.00
                   

These are the most requested items. Feel free to inquire about items not listed.

Accessories

Climate control

1. Condenser -- --   --   --   $65.00
2. Dehydrator receiver -- --   --   --   35.00
3. Heater water control valve.... 68d only -- --   --   --   55.00
4. Compressor with clutch and pulley -- --   --   --   125.00
5. Discharge low pressure hose -- --   --   --   38.00
6. Suction high pressure hose -- --   --   --   45.00
7. Hose and pipe assembly -- --   --   --   45.00
8. Servo valve -- --   --   --   45.00
9. Suction throttling valve -- --   --   --   45.00
10. Power servo .......($35.00 core charge not included) -- --   --   --   125.00
11. Expansion valve -- --   --   --   100.00
12. Master switch -- --   --   --   55.00
13. Blower relay -- --   --   --   35.00
14. Idle speed up ..........(on carburetor)  Illustration -- --   --   --   55.00
15. Heater air selector assembly -- --   --   --   35.00
16. Mode vacuum power unit -- --   --   --   55.00
17. Evaporator core -- --   --   --   95.00
18. Blower motor -- --   --   --   45.00
19. Vacuum storage tank -- --   --   --   25.00
20. Defrost vacuum power unit -- --   --   --   45.00
21. Duct sensor -- --   --   --   30.00
22. Ambient switch and sensor assembly -- --   --   --   45.00
23. Heater core -- --   --   --   45.00
24. 20% - 100% vacuum power unit -- --   --   --   55.00
25. Control panel assembly ......($45.00 core charge not  -- --   --   --   150.00
........included)
26. In – car sensor -- --   --   --   25.00
27. Transducer -- --   --   --   65.00
               
  Illustration of climate control system            

Twilight sentinel - Auto dimming

  

Featured Item

ALL Headlight Control Guide-matic(AutoDimming) Cadillac 68-70 maybe (2).JPG (598612 bytes)

Complete Kit For Installing Guide-Matic & Twilight 

NOS

SOLD 695.00

         Sentinel Assemblies         

 See Pictures   ----------->

  
Twilight sentinel amplifier with photo cell ....(sold only as  --    --   --   --   $125.00
........matched pair)
Auto dimmer photo eye with amplifier.......(located on  --   --   --   --   95.00
.....LH side of grill)

Cruise control

Transducer .........(transducer, unit assembly) -- --   --   --   $125.00
Wire harness -- --   --   --   45.00
Throttle control rod assembly -- --   --   --   65.00
Speedometer cable .........(servo to speedometer head) -- --   --   --   45.00
Speedometer cable ........(servo to transmission) -- --   --   --   55.00
Speed control cable ........(servo to switch / controller) -- --   --   --   55.00
Switch/controller with thumbwheel -- --   --   --   125.00
Brake pedal switch -- --   --   --   35.00
Complete cruise system .....(without chrome dash bezel) -- --   --   --   500.00

Ride leveling system

1. Leveling compressor assembly ........(good working  -- --   --   --   Inquire
  .........compressor, we completely disassemble several             
.........compressors, then reassemble using the best parts, 
........then test thoroughly to make sure of dependable 
........operation. Price does not include $55.00 core charge)
4. Shock absorber -- --   --   --   95.00
6. Rear valve -- --   --   --   125.00
               
  Illustration of ride leveling system            

Windshield wipers

Windshield wiper motor  -- -- -- -- 95.00
Windshield wiper transmission assembly -- --   --   --   55.00
Windshield wiper arms ......(each) -- --   45.00   55.00   65.00
Windshield wiper blade holder ......(each) -- -- -- -- 25.00
Windshield wiper switch -- -- 45.00 55.00 65.00
Washer pump assembly 55.00
Washer fluid jug 45.00 55.00 65.00

 

Prices and availability subject to change without notice.

Literature, models, and mobilia

 

Service manual ....(original) --   --   --   --   --
Owners manual .....(original) --   --   22.00   28.00   38.00
Owners manual plastic pouch .....(original) --   --   --   18.00   25.00
Accessory manual --   --   --   28.00   35.00

 

Click here to return to www.cadillacville.com homepage


Free counters provided by Honesty.com.